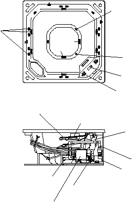
Z140/340 (MODEL #H850000) REPAIR ASSEMBLIES ARE SHOWN/REFERENCED BELOW 22 Suction Covers (2) BMH Jets (21) Spa Light Ozone Fitting 2 Button w/Temp Control Panel 1-Position Control Panels (5) Air Line Piping Serial Number/Product Specification Plate Front Load Filter/Skimmer (Serial Number Sticker located on inside of Skimmer Housing) Discharge Plumbing 230V J-Pump/Motor Assembly (Whirlpool) Suction Plumbing 230V J-Pump/Motor Assembly (Filter) Electronic Control Box (2 Pump/230V)